天眼查、爱企查工商信息显示,近日,虹阳显示(咸阳)科技有限公司(以下简称:虹阳显示)发生工商变更,注册资本由约38.2亿元人民币增至约47.8亿元人民币,增幅约25%。
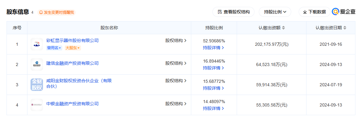
虹阳显示成立于2021年9月,法定代表人为刘琎,经营范围包括玻璃制造、非金属矿及制品销售、智能基础制造装备制造等。股东信息显示,该公司由彩虹股份(600707)、建信金融资产投资有限公司、咸阳金财股权投资合伙企业(有限合伙)、中银金融资产投资有限公司共同持股。


据此前彩虹股份(600707.SH)公告称,以自有资金及科技创新公司债券募集资金共10.5亿元向控股子公司虹阳显示进行增资。增资后,虹阳显示注册资本增至47.81亿元,彩虹股份持股比例由52.94%增至62.40%。彩虹股份称,此次公司本次向虹阳显示增资有利于加快推进公司咸阳基地 G8.5+基板玻璃生产线项目建设,持续扩大高世代基板玻璃产业规模,符合公司中长期战略发展规划和长远利益。
虹阳显示是彩虹股份咸阳G8.5+基板玻璃生产线项目的建设主体,专注于G8.5+基板玻璃的研发、生产和销售 。自成立以来,历经五次增资(包括当前融资),最新注册资本增至47.8亿元人民币。公司于2023年10月实现首条G8.5+基板玻璃生产线量产,2024年11月第四条生产线投产。

据此前消息,在成功量产G7.5、G8.5+基板玻璃后,彩虹股份已将技术研发目标瞄准了更高世代(G9.5),以完善产品体系,抢占高端市场。
据寻标宝网站显示,2025年8月15日,运营公司虹阳显示依据《建设项目竣工环境保护验收暂行办法》和国家有关法律法规、建设项目竣工环境保护验收技术指南、本项目环境影响报告表和批复等要求,在咸阳市高新区召开了《彩虹显示器件股份有限公司基板玻璃超高世代(G9.5)技术研发项目》(阶段性)竣工环境保护验收会。




